Cheville à bascule lourde
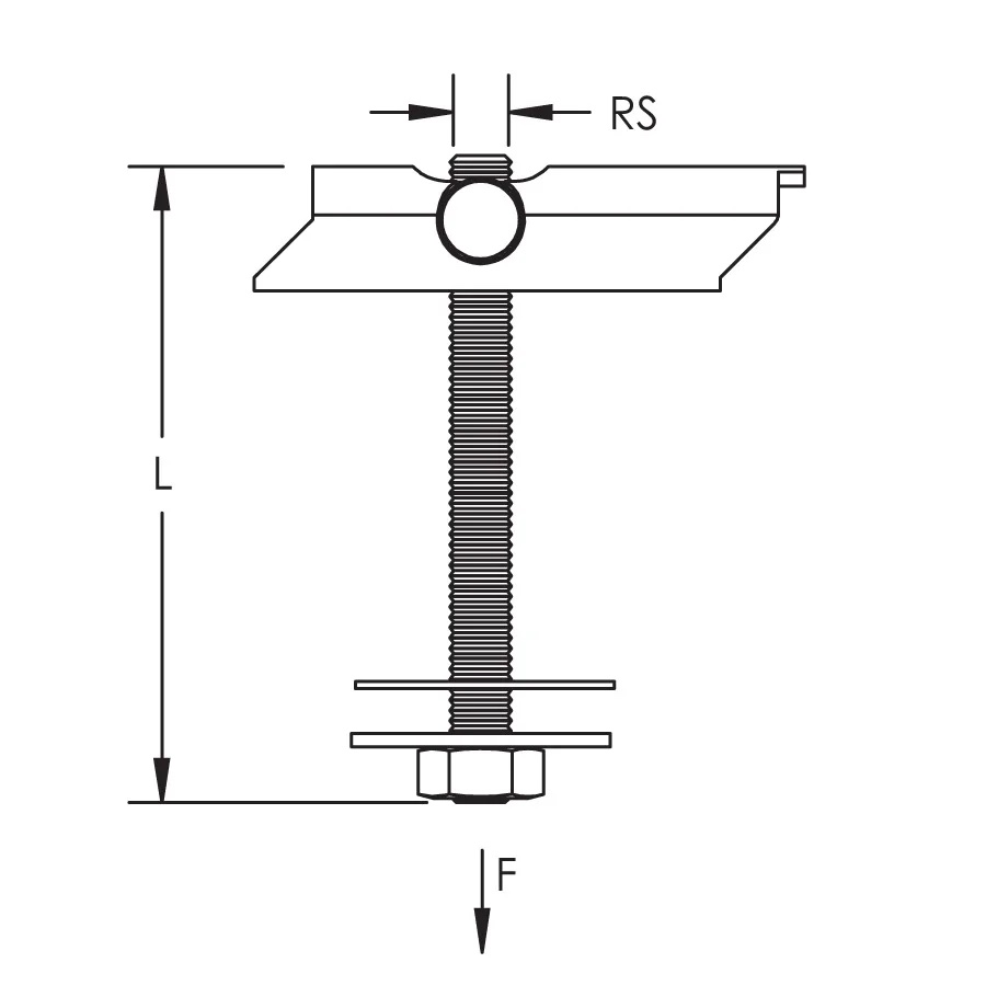
Complet avec tige filetée, écrou, rondelle et bloc de répartition des charges
La tige filetée est protégée contre tout retrait involontaire
Approuvé FM et VDS pour une utilisation dans les systèmes stationnaires de protection contre l’incendie (pour des tuyaux d’une taille maximale de 2 pouces)
Finition : Electro-Galvanisé
Tige ( RS ) : M8 ou M10
Longueur ( L ) : 100 mm
Diamètre de perçage : 22mm pour la M8 et 25mm pour la M10
Charge statique : 800 N ( charge maximale recommandée lors de la fixation sur un bac acier )
Charge statique maximale ( F ) : 20 kN

